如果是企业商户的单

①先看是哪个商户的订单

示例:下面我们来看这个订单,该订单是属于“碼皇”这个商户的,订单距离是4.9km,下单时间是15:41

②看商户绑定了哪种抽佣方式以及商户的计费规则

可以看到这个商户绑定的抽佣方式是“按比例抽佣”

查看“碼皇”这商户的计费规则

商户下单订单距离是4.9km,下单时间是15:41,根据这个商户的计费规则,可知这个商户的下单费用为5+(4.9-2)*1+2=9.9元

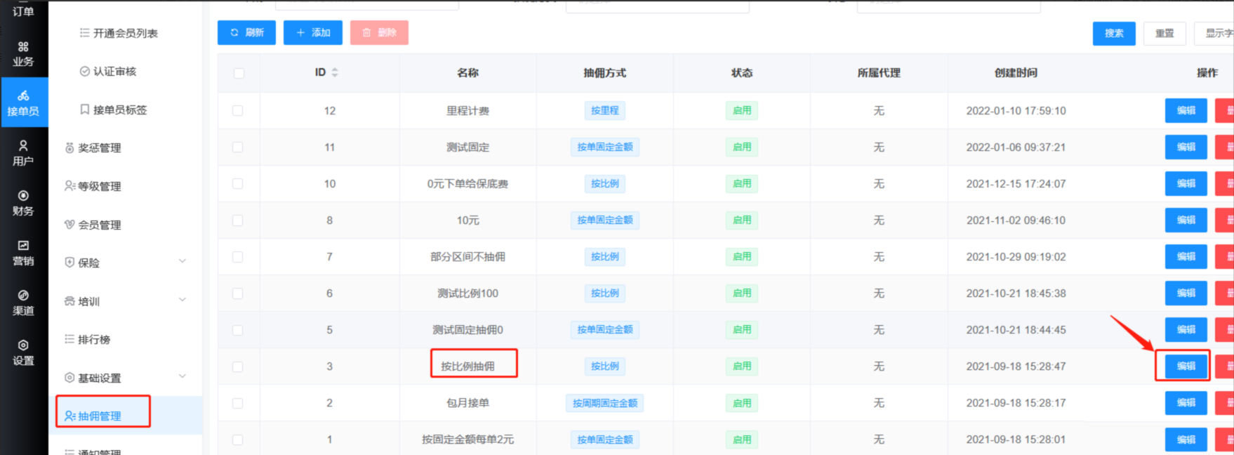
③抽佣方式里查看这个抽佣方式是如何设置的

找到“按比例抽佣”

点编辑,进来可以看到这个抽佣方式的设置规则,订单金额30元内平台抽10%,那么上面第②点 已经算出,商户下单金额为9.9元,那么接单员完成这个单后所得佣金为:9.9*(1-10%)=8.91元。


接单员接企业商户的订单所得的佣金就是这样计算出来的。

作者:技术支持-周玲  创建时间:2024-11-26 19:22
 更新时间:2026-01-27 10:24